合作客戶/
拜耳公司 |
同濟大學 |
聯合大學 |
美國保潔 |
美國強生 |
瑞士羅氏 |
相關新聞Info
推薦新聞Info
-
> 嵌段比例對溫敏聚合物表面張力的影響及臨界膠束濃度分析(三)
> 嵌段比例對溫敏聚合物表面張力的影響及臨界膠束濃度分析(二)
> 嵌段比例對溫敏聚合物表面張力的影響及臨界膠束濃度分析(一)
> 溫度和碳碳雙鍵數對脂肪酸酯表面張力的影響(二)
> 溫度和碳碳雙鍵數對脂肪酸酯表面張力的影響(一)
> 二甲亞砜與二甲苯異構體混合物的體積收縮與表面張力降低效應(二)
> 二甲亞砜與二甲苯異構體混合物的體積收縮與表面張力降低效應(一)
> 表面能與表面張力對凍干制劑中“小瓶霧化”現象的影響機制研究
> 新型懸滴實驗系統的研制與二甲基亞砜/甲醇混合物表面張力測量(二)
> 新型懸滴實驗系統的研制與二甲基亞砜/甲醇混合物表面張力測量(一)
降低熔池外沿待破碎液膜區域的表面張力,制備細粒徑高氮含量的高氮鋼粉末
來源:西安賽隆增材技術股份有限公司 瀏覽 1118 次 發布時間:2024-08-29
高氮鋼因其優異的力學性能、耐磨性、耐腐蝕性能而備受關注。由于引入元素氮,它與鋼種的其他元素(Mn、Cr、V、Nb、Ti等)交互作用,而賦予該鋼種許多優異的性能。近年來高氮鋼被應用到增材制造技術領域及粉末冶金領域,用于制備高性能大尺寸復雜結構零件。提供高品質高氮鋼球形粉末是保證增材制造、粉末冶金制備高氮鋼零件性能的重要前提。
等離子旋轉電極霧化制粉技術是工業領域制備高品質金屬粉末的方法,是制備高品質鋼粉的理想技術。旋轉電極在制備高氮鋼粉末的過程中,因顆粒度大小不同,相應的冷卻速率也存在區別,細粒徑粉末制粉過程中比粗粒徑粉末冷速更快,制粉過程中粉末中的氮元素析出更少,存留在粉末中的氮含量更高;粗粒徑粉末的氮含量較低。因此,制備出的粉末存在粗粉氮含量低、細粉氮含量高的問題。
現有技術中未提及等離子旋轉電極霧化制粉過程中的粗細粉末氮元素含量不一致問題,所制得的粉末不能完全滿足各粒度段對成分的要求,這大大增加了粉末的生產成本。
因此,有必要改善上述相關技術方案中存在的一個或者多個問題。
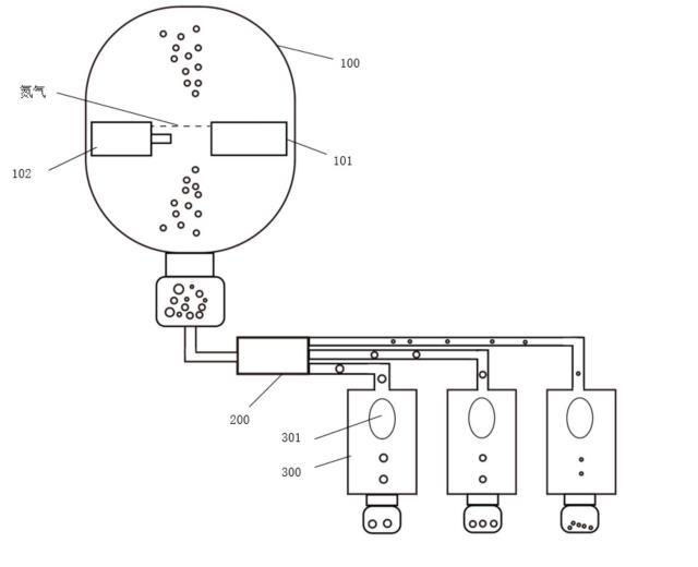
圖1制備高氮鋼粉末裝置的結構示意圖
100、霧化室;101、電極棒料;102、等離子槍;200、粉末分離裝置;300、后處理裝置;301、等離子體熱源。
一種制備高氮鋼粉末的裝置,包括霧化室100、氮氣吹送裝置(圖中未示出)、粉末分離裝置200以及后處理裝置300。
具體地,所述氮氣吹送裝置設置在所述霧化室100內,且利用所述氮氣吹送裝置吹送的氮氣作用于電極棒料101的外沿區域。所述氮氣吹送裝置可以設置在等離子槍102上,也可以設置在霧化室100內壁上,但也不限于此。其中,可選地,所述氮氣吹送裝置的氮氣出口直徑為1~5mm,例如2mm、3mm、4mm等,但也不限于此;吹送所述氮氣的流量為0~40L/min,例如15L/min、20L/min、25L/min、30L/min等,但也不限于此。可選地,在一個實施例中,所述電極棒料101的外沿區域是指距離所述電極棒料101中心1/2半徑處至電極棒料101的邊沿所形成的區域,或者是距離所述電極棒料101中心2/3半徑處至電極棒料101的邊沿所形成的區域。
所述粉末分離裝置200用于將不同粒徑范圍內的粉末進行分離,例如將大于等于53微米的粉末分離出來作為粗粉,例如可以是旋風分離器、篩網等。
所述后處理裝置300內設有等離子體熱源301,且所述后處理裝置300內充有氮氣,經所述粉末分離裝置200分離出來的粗粉進入所述后處理裝置300內。利用所述等離子體熱源301和所述氮氣對所述粗粉進行重熔增氮處理,其中,所述粗粉可以是指粒徑大于50微米的粉末。
本實施例中,利用氮氣對電極棒料101的外沿區域進行作用,使氮氣與電極棒料101外沿的熔池進行反應,熔池吸氮過程降低了熔池外沿待破碎液膜區域的表面張力,使粉末粒度更??;同時電極棒料101中心區域的液膜移動到電極棒料101外沿時,由于氮氣作用于外沿區域,會繼續對該液膜進行擾動,降低了液膜的表面張力,進而得到粒徑更小的粉末;由于制得的粉末粒徑更小,粉末冷卻速度較快,氮元素析出更少,存留在細粉中的氮含量更高,從而得到氮含量更高的高氮鋼粉末,最終達到制備細粒徑高氮含量的高氮鋼粉末。
可選地,在一些實施例中,所述等離子體熱源301的功率為0~200kW,例如50kW、100kW、150kW等;所述粗粉進入所述后處理裝置300的速率為0~500g/min,例如100g/min、200g/min、300g/min等。
可選地,在一些實施例中,所述后處理裝置300內的壓力為5×10-3Pa~10MPa;其中,氮氣分壓為0~9MPa,例如可以是2MPa、4MPa、7MPa等。
可選地,在一些實施例中,所述電極棒料101為鋼棒料。例如,Cr18Mn18奧氏體不銹鋼棒料、S42025(X40CrMoVN16-2)馬氏體不銹鋼棒料等。所述電極棒料101可以是氮含量較低的棒料,氮含量為0.05%~0.25%。
一種制備高氮鋼粉末的方法,利用以上實施例中的制備高氮鋼粉末的裝置進行高氮鋼粉末制備,請參考圖2,所述方法包括以下步驟:
S101,對霧化室100、粉末分離裝置200和后處理裝置300進行抽真空,然后通入惰性氣體;
S102,開啟氮氣吹送裝置,且所述氮氣吹送裝置吹送的氮氣作用于電極棒料101的外沿區域;
S103,旋轉電極棒料101,利用等離子槍101對電極棒料101進行熔化制粉;
S104,利用粉末分離裝置200對制得的粉末進行分離,分離得到的粗粉進入后處理裝置300;
S105,利用等離子體熱源301和氮氣對進入后處理裝置300的粗粉進行重熔增氮處理,得到目標氮含量的高氮鋼粉末。
本實施例中,利用氮氣對電極棒料101的外沿區域進行作用,使氮氣與電極棒料101外沿的熔池進行反應,熔池吸氮過程降低了熔池外沿待破碎液膜區域的表面張力,使粉末粒度更?。煌瑫r電極棒料101中心區域的液膜移動到電極棒料101外沿時,由于氮氣作用于外沿區域,會繼續對該液膜進行擾動,降低了液膜的表面張力,進而得到粒徑更小的粉末;由于制得的粉末粒徑更小,粉末冷卻速度較快,氮元素析出更少,存留在細粉中的氮含量更高,從而得到氮含量更高的高氮鋼粉末,最終達到制備細粒徑高氮含量的高氮鋼粉末。





