合作客戶/
拜耳公司 |
同濟大學 |
聯合大學 |
美國保潔 |
美國強生 |
瑞士羅氏 |
相關新聞Info
-
> 表面張力估算法測定29種常見低芳淺色礦物油的溶解度參數——結果與討論、結論
> 烷基-β-D-吡喃木糖苷溶解性、表面張力、乳化性能等理化性質研究(二)
> LB制膜的應用領域、LB膜的制備方法、轉移與光照
> 氟硅表面活性劑(FSS)水溶液表面張力、發泡力、乳化力測定(二)
> 為何礦泉水中的表面張力會比純凈水更大?
> 微量天平和超微量天平定義、市場發展現狀及機遇
> 基于懸滴法測量硅油黏滯液體的表面張力系數——實驗原理
> 干細胞誘導的人小腸上皮模型用于藥物吸收的體外研究
> 液滴撞擊固體表面過程中黏度與表面張力系數變化(三)
> 量化改進差分毛細管法測試高溫液態瀝青表面張力精度(上)
推薦新聞Info
-
> 溫度和碳碳雙鍵數對脂肪酸酯表面張力的影響(二)
> 溫度和碳碳雙鍵數對脂肪酸酯表面張力的影響(一)
> 二甲亞砜與二甲苯異構體混合物的體積收縮與表面張力降低效應(二)
> 二甲亞砜與二甲苯異構體混合物的體積收縮與表面張力降低效應(一)
> 表面能與表面張力對凍干制劑中“小瓶霧化”現象的影響機制研究
> 新型懸滴實驗系統的研制與二甲基亞砜/甲醇混合物表面張力測量(二)
> 新型懸滴實驗系統的研制與二甲基亞砜/甲醇混合物表面張力測量(一)
> 噻噸酮光敏劑體系:光電轉換與顯色特性的深度解析
> 溫度、締合強度、截斷半徑對球形空腔中締合流體界面張力的影響(二)
> 溫度、締合強度、截斷半徑對球形空腔中締合流體界面張力的影響(一)
新設計的拼接式固相萃取柱完美解決萃取柱出現空氣栓塞問題
來源:成都理工大學 瀏覽 1111 次 發布時間:2024-06-20
固相萃取是一種樣品分離、純化和富集技術,其原理是基于選擇性吸附與選擇性洗脫的液相色譜法分離。通常是使樣品溶液通過固定相,保留其中被測物質,再用試劑淋洗雜質,然后用試劑洗脫目標物質,從而達到分離與富集目的。也可選擇性吸附干擾雜質,而讓被測物質流出;或同時吸附雜質和被測物質,再使用合適的試劑選擇性洗脫被測物質。
現有技術中的自動化固相萃取儀器種類繁多,其中萃取柱是這類儀器的核心部件。現有自動化固相萃取儀器無法控制和監測每一根固相萃取柱內液面,萃取柱內的溶液容易流干,導致空氣進入萃取柱的固定相中,形成空氣栓塞;萃取柱出現空氣栓塞,會導致后續加入的溶液無法正常通過萃取柱,無法完成固相萃取。
針對現有技術中的上述問題,成都理工大學徐進勇、李國慶、林培赟、鄧滿、王彤等人研發出一種拼接式固相萃,解決了現有的萃取柱存在空氣栓塞的問題。
拼接式固相萃取柱的基本原理
由于在柱頭管內設置有第一親水篩板,使得整個萃取柱內親水性水溶液液面下降至第一親水篩板表面時,在該第一親水篩板表面形成較強的表面張力,從而阻止萃取柱內的水溶液繼續下降,使該萃取柱對親水性溶液具有自動控制和保持液位的功能,防止液面繼續下降,避免空氣進入填料管內形成空氣栓塞。本萃取柱有別現有萃取柱之處在于:具有自動控制和保持萃取柱內溶液在第一親水篩板表面處的特性,解決了現有的萃取柱存在空氣栓塞的問題。
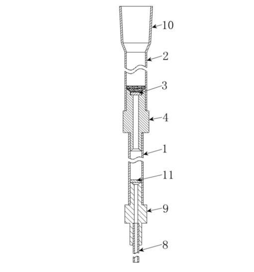
拼接式固相萃取柱的內部剖視結構示意圖
1、填料管;2、柱頭管;3、第一親水篩板;4、第一連接接頭;5、中部連接部;6、頂部連接部;7、底部連接部;8、適配管;9、第二連接接頭;10、加液口;11、第二親水篩板。
拼接式固相萃取柱的萃取過程
當向安裝好的萃取柱中加載樣品溶液時,柱頭管內溶液液面高于第一親水篩板上表面,在溶液重力的驅動下,萃取柱內的溶液依次通過第一親水篩板上表面覆蓋的固定相薄層、第一親水篩板、第一連接接頭、填料管內中的固定相、第二親水篩板、第二連接接頭和適配管,從適配管的出口流出,流入收集器皿中;隨著萃取柱內樣品溶液緩慢流出,柱頭管內的溶液液面逐漸下降,樣品溶液中的化學組分被加載至固相萃取的固定相中,即開始固相萃取物理化學過程。當溶液液面下降至第一親水篩板表面時,親水性溶液會在第一親水篩板表面形成較強的表面張力,以阻止萃取柱內的水溶液繼續下降,避免空氣進入填料管內形成空氣栓塞,而第一親水篩板上表面覆蓋的固定相薄層對第一親水篩板上表面起著保濕作用,防止空氣滲入第一親水篩板上表面形成空氣栓塞。
這種拼接式固相萃取柱具有自動控制和保持萃取柱內溶液在第一親水篩板表面處的特性,無需人工監控萃取柱內液面高度和無需給萃取柱增加開關零部件,可以避免空氣進入填料管內形成空氣栓塞,保障萃取柱后續的正常使用,降低了作業人員的勞動強度,解決了現有的萃取柱存在空氣栓塞的問題,同時也避免了其它萃取柱的開關零部件殘留和交叉污染風險。
上海謂載科技有限公司是芬蘭Kibron在中國的總代理和售后服務中心。產品有:便攜式表面張力儀、高通量表面張力儀、LB膜分析儀、界面張力儀、郎繆爾張力儀、超微量天平等表面化學儀器。高通量表面張力儀滿足了化學工業對高精度、自動化、海量樣品篩選的挑戰。我們一直注重于產品創新、優化用戶體驗和提供可靠的服務。





